16. Sam-Il Tul

– Sam-Il Tul –

Achieving the third Dan grade grants access to three new Taekwon-do forms, of which Sam-Il is the first.

Begin
Assume a closed stance towards D with the ready posture Chumby-C.
Image seen from D.

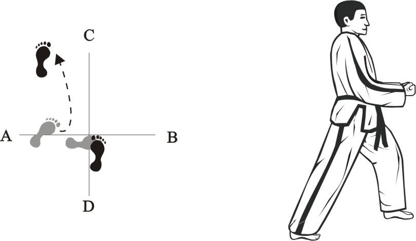
Movement 1
Step with the left foot forward towards D and slide with the right foot forward towards D, form a right L-stance towards D and make a forearm guarding-block middle.
Image seen from B.

Movement 2
Step with the right foot forward towards D, form a right stance towards D, and make a double inner forearm-block high.
Image seen from B.

Movement 3
Step with the left foot forward towards D, form a left walking stance towards D and make a right knifehand-block high.
Support the technique with the palm of the left knife hand on the back of the right wrist.
Image seen from B.

Movement 4
Make a right twisting-kick middle towards A.
Keep the hands as in movement 3.
Image seen from B.

Movement 5
Step the right foot forward towards D, form a right walking stance towards D and make a right fist-punch middle.
Image seen from B.

Movement 6
Step with the right foot to the side towards C and place the left foot backward, form a sitting stance towards B and make an innner knife hand wedge-block middle.
Image seen from B.

Movement 7
Turn left onto the right foot and set the left foot aside, form a left walking stance towards C and make a right fingetip-thrust low.
Make the counter movement with the outside of the left fist towards the middle of the chest.
Image seen from B.

Movement 8
Turn to the right on the right foot and bring the left foot back, form a right L-stance towards C and make a right backward outer forearm-block high (towards D) and a left outer forearm-block low (towards C).
Image seen from B.

Movement 9
Turn left on the left foot and step with the right foot sideways towards C, form a sitting stance towards A and make an inner knifehand wedge-block middle.
Image seen from A.

Movement 10
Turn to the right on the left foot and bring the right foot back, form a left L-stance towards C and make a twin fist-punch low.
Image seen from A.

Movement 11
Step with the left foot forward towards C, form a left walking stance towards C, and make a right double archand-block middle.
Look in the direction of BC.
Image seen from B.

Movement 12
Step with the right foot forward towards C, form a right walking stance towards C, and make a left fist-punch middle.
Image seen from B.

Movement 13
Turn left on the right foot and step the left foot forward, form a right L-stance towards D and make a twin fist-punch low.
Image seen from A.

Movement 14
Turn left on the right foot and step forward with the left foot towards B, form a right L-stance towards B and make an inner knifehand guarding-block high.
Image seen from D.

Movement 15
Step the left foot forward, form a right fixed-stance towards B, and make an archand U-block.
Image seen from D.

Movement 16A
Turn left on the left foot and make a right inward sweeping-kick downward towards B…..
Image seen from C.

Movement 16B
…… turn left on the left foot and step the right foot forward towards B, form a left fixed-tance towards B and make an archand U-block.
Image seen from C.

Movement 17/1
Jump up and turn to the left…
Image seen from C.

Movement 17/2
……, and land in the same place in a left L-stance towards B and make a knifehand guarding-block middle.
Image seen from C.

Movement 18
Turn left on the left foot and make a right side-kick middle towards B.
Image seen from D.

Movement 19
Bring the right foot next to the left foot, turn left on the right foot and step forward with the left foot towards A, form a left walking stance towards A and make a right elbow-strike middle in the palm of the left knife hand.
Image seen from D.

Movement 20
Turn left on the left foot and step sideways with the right foot towards A, form a left diagonal sitting stance toward D and make a left backward elbow-strike middle.
Support the technique with the palm of the right hand on the front of the left fist.
Image seen from B.

Movement 21
Turn right on both feet towards AD, form a right walking stance towards AD and make a forearm X-block downwards.
Image seen from DB.

Movement 22
Turn right on the right foot and step with the left foot with a stamp to the side towards A, form a sitting stance towards C and make an outer forearm W-block.
Image seen from C.

Movement 23
Turn right on the right foot and make a left side-kick middle towards A.
Image seen from C.

Movement 24
Turn to the right on the right foot and place the left foot back towards A, form a left L-stance towards B and make a knifehand guarding-block low.
Image seen from C.

Movement 25
Turn right on the right foot and step forward with the left foot towards B, form a right rearfoot stance towards B and make a left upward palm-block middle.
Image seen from C.

Movement 26
Turn left on the left foot and step forward with the right foot towards B, form a left rearfoot stance towards B and make a twin palm-block low.
Image seen from C.

Movement 27
Turn left on the right foot and step forward with the left foot with a stamp towards C, form a left walking stance towards C and make a twin upward fist-punch low.
Image seen from B.

Movement 28
Turn left on the left foot and step forward with the right foot towards C, form a left L-stance towards C and mak a right outer forearm-block low.
Pull the left hand back to release towards the left armpit.
Image seen from A.

Movement 29
Stay in the same stance and make a left fist-punch middle.
Bring the right fist towards the left shoulder in a controlled movement.
Image seen from A.

Movement 30
Turn left on the right foot and place the left foot forward, form a left walking stance towards D and make a right inward outer forearm-block middle.
Image seen from B.

Movement 31
Stay in the same stance and make a left fist-punch high.
Image seen from B.

Execute movements 30 and 31 consecutively.

Movement 32
Turn right on the right foot and make a left front-kick low towards D.
Image seen from B.

Movement 33
Step the left foot forward towards D and stamp with the right foot forward towards D, form a right walking stance and make an twin vertical fist-punch high.
Image seen from B.

End
Place the left foot next to the right foot, form a closed stance towards D, and assume the ready posture Chumby-C.
Image seen from D.